Εκτυπώσιμοι δίσκοι
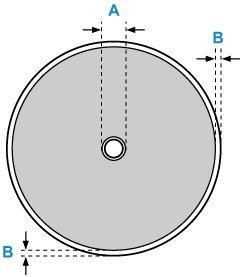
Η περιοχή εκτύπωσης του εκτυπώσιμου δίσκου είναι από 17 χιλ. (0,67 ιντσών) της εσωτερικής διαμέτρου έως 1 χιλ. (0,04 ιντσών) από την εξωτερική διάμετρο της επιφάνειας εκτύπωσης.

Εκτυπώσιμη περιοχή
- A: 17,0 χιλ. (0,67 ιντσών)
- B: 1,0 χιλ. (0,04 ιντσών)

